УСН-175, 175ПП
420000,00 руб
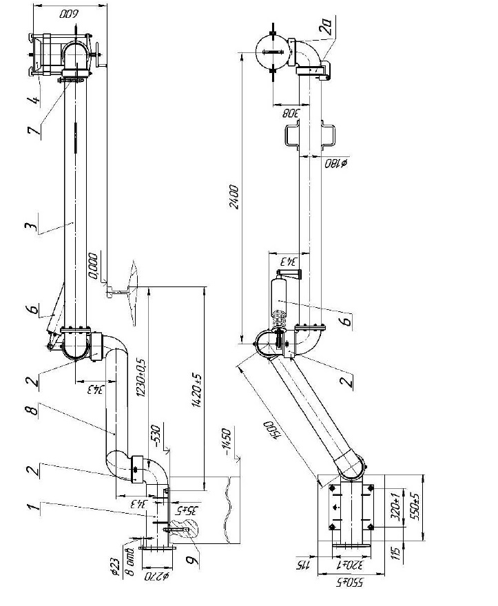
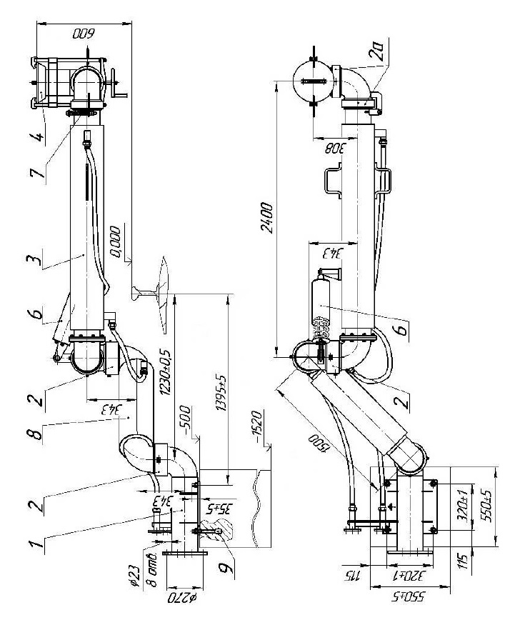
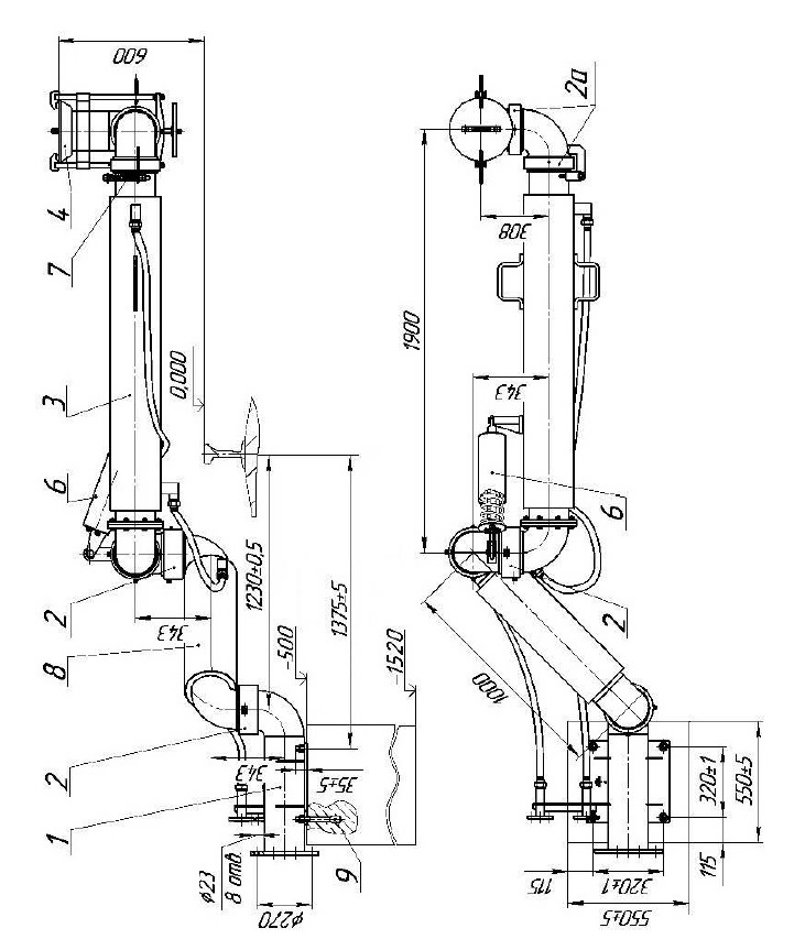
Установки для нижнего слива нефти и нефтепродуктов железнодорожных вагонов- цистерн УСН 175 (далее установки) предназначены для нижнего слива нефти и нефтепродуктов из железнодорожных вагонов-цистерн с универсальными сливными приборами. УСН-175П предназначена для нижнего слива нефти и нефтепродуктов из железнодорожных вагонов-цистерн с универсальными сливными приборами с использованием пара для разогрева нефтепродукта.
Установки состоят из шарнирно соединенных труб, оканчивающихся, с одной стороны, опорным патрубком с присоединительным фланцем, а с другой стороны - присоединительной головкой. Оригинальная конструкция шарнирных соединений обеспечивает долговечность и надежность изделий в эксплуатации.
Установки монтируют на фронте слива на бетонном основании с помощью фундаментных болтов.
Возможна комплектация ответными фланцами.
По устойчивости к воздействию климатических факторов внешней среды установки соответствуют исполнению У и ХЛ категории размещения 1 по ГОСТ 15150-69.
Пример записи установок при заказе и в другой документации:
Установка для нижнего слива нефти и нефтепродуктов железнодорожных вагонов- цистерн УСН-175 исполнения У1 по ГОСТ 15150-69:
Таблица 1
Технические характеристики.
|
Наименование параметра
|
Обозначение установки |
||||
|
УСН-175-04 |
УСН-175-06 |
УСН-175П-04 |
УСН-175П-06 |
||
|
Значение параметра |
|||||
|
1 Диаметр условного прохода, мм |
175 |
||||
|
2 Условное давление, МПа (кгс/см2) |
0,6 (6) |
||||
|
3 Давление подводимого пара, МПа (кгс/см2), не более |
— |
0,4 (4) |
|||
|
4 Температура подводимого пара, °С, не более |
— |
+125 |
|||
|
5 Усилие на рукоятке маховика, Н (кгс), не более |
200 (20) |
||||
| 6 Момент трения в шарнирах, Н·м (кгс·м), не более | 50(5) | ||||
|
7 Зона подключения установки к патрубку сливного прибора вагона-цистерны, м, не менее |
2,0 |
3,0 |
2,0 |
3,0 |
|
|
8 Габаритные размеры в сложенном положении, мм, не более: |
|||||
|
длина |
2300 |
2800 |
2300 |
2800 |
|
|
ширина |
700 |
||||
|
высота |
1200 | ||||
|
9 Масса, кг, не более |
200 |
215 |
200 |
215 |
|
* продукт - пар для устройств в базовом исполнении или другой разрешенный продукт по согласованию с заказчиком.
ЦЕНА
УСН-175-04. Цена 420 000.00 руб.
УСН-175-06. Цена 450 000.00 руб.
УСН-175П-04. Цена 520 000.00 руб.
УСН-1175П-06. Цена 560 000.00 руб.
Сроки поставки зависят от количества оборудования и времени заказа и составят от 10 до 35 дней.
Наши менеджеры подскажут о важных свойствах товара, наличии на складе в г. Санкт-Петербург, о реальных сроках и способах поставки груза. Подберут оборудование и сделают расчет стоимости. Для дополнительной информации обращайтесь в офис нашей компании по электронному адресу: azs-tehnik@yandex.ru либо по телефону +7 (812) 716-60-16, +7(965) 770-89-00.
Доставка осуществляется на территории всей страны транспортными компаниями ТК "КИТ" Сервис, ТК "Деловые линии" и другими. Оплата транспортных расходов производится заказчиком на месте транспортной компании либо включается в стоимость оборудования.


