Клапаны КДС
60500,00 руб
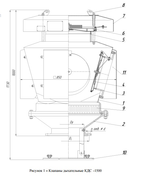
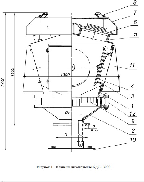
Клапаны дыхательные КДС предназначены для поддержания давления в газовом пространстве резервуаров в заданных пределах и герметизации газового пространства резервуаров с целью сокращения потерь нефти и нефтепродуктов от испарения и снижения загрязнения атмосферы их парами. Клапаны КДС могут быть использованы как в качестве дыхательных, так и в качестве предохранительных клапанов. На резервуарах они должны устанавливаться комплектно – по два клапана: один в качестве дыхательного, а другой в качестве предохранительного клапана.
По устойчивости к воздействию климатических факторов внешней среды клапаны соответствуют исполнению УХЛ категории размещения 1 по ГОСТ 15150-69.
При установке на резервуары дыхательных клапанов КДС в качестве предохранительных последние должны быть того же типоразмера, что дыхательные и настроены на те же рабочие параметры или 5-10 % выше номинала.
Клапан КДС имеет такие преимущества перед аналогами, как простота обслуживания при осмотрах без применения специального инструмента, возможность изменения давления срабатывания, возможность замены огнепреградителей без демонтажа самого клапана.
Клапаны изготавливается из стали и из алюминия. Конструкция клапана обеспечивает технологические процессы хранения, транзита и слива/налива нефти и нефтепродуктов, в том числе в условиях газоуравнительной системы.
Технические характеристики клапанов КДС 1500 стальных
|
Параметры \ изделия |
КДС-1500/150-10 стальной |
КДС-1500/200-10 стальной |
КДС-1500/250-10 стальной |
|---|---|---|---|
|
диаметр условного прохода, мм |
150 |
200 |
250 |
|
пропускная способность в комплекте с огневым предохранителем, м³/ч, не менее |
450 |
800 |
1000 |
|
рабочее давление, Па (мм вод. ст.), не более |
1765±10 (180±1) |
||
|
рабочий вакуум, Па (мм вод. ст.), не более |
245-20 (25-2) |
||
|
давление срабатывания, Па (мм вод. ст.) |
1348±172 (137±18) |
||
|
вакуум срабатывания, Па (мм вод. ст.) |
102,5±24,5 (10,5±2,5) |
||
|
температурный диапазон работы, °С; |
от –60 до +40 |
||
|
Габаритные размеры, мм, не более: |
|||
|
длина, мм |
750 |
750 |
750 |
|
ширина, мм |
750 |
750 |
750 |
|
высота (без диска отражателя), мм |
970 |
970 |
970 |
|
масса, кг |
100 |
100 |
102 |
|
Присоединительные размеры: |
|||
|
диаметр ответного фланца, мм |
260 |
315 |
370 |
|
диаметр межцентрового расстояния, мм |
225 |
280 |
335 |
|
диаметр отверстия, мм |
18 |
18 |
18 |
|
количество отверстий, шт. |
4 |
4 |
6 |
|
Параметры \ изделия |
КДС-1500/350-10 стальной |
КДС-1500/500-10 стальной |
|---|---|---|
|
диаметр условного прохода, мм |
350 |
500 |
|
пропускная способность в комплекте с огневым предохранителем, м³/ч, не менее |
1500 |
1500 |
|
рабочее давление, Па (мм вод. ст.), не более |
1765±10 (180±1) |
|
|
рабочий вакуум, Па (мм вод. ст.), не более |
245-20 (25-2) |
|
|
давление срабатывания, Па (мм вод. ст.) |
1348±172 (137±18) |
|
|
вакуум срабатывания, Па (мм вод. ст.) |
102,5±24,5 (10,5±2,5) |
|
|
температурный диапазон работы, °С; |
от –60 до +40 |
|
|
Габаритные размеры, мм, не более: |
||
|
длина, мм |
750 |
750 |
|
ширина, мм |
750 |
750 |
|
высота (без диска отражателя), мм |
970 |
970 |
|
масса, кг, не более |
104 |
104 |
|
Присоединительные размеры: |
||
|
диаметр ответного фланца, мм |
485 |
640 |
|
диаметр межцентрового расстояния, мм |
445 |
600 |
|
диаметр отверстия, мм |
22 |
22 |
|
количество отверстий, шт. |
6 |
16 |
ЦЕНА
|
Наименование |
Цена в руб. за 1 шт без НДС |
|
Клапан дыхательный КДСа-1500/150 |
70400 |
|
Клапан дыхательный КДСа-1500/200 |
70400 |
|
Клапан дыхательный КДСа-1500/250 |
70400 |
|
Клапан дыхательный КДСа-1500/350 |
70620 |
|
Клапан дыхательный КДСа-1500/500 |
70620 |
|
Клапан дыхательный КДСа-3000/250 |
цена по запросу |
|
Клапан дыхательный КДСа-3000/350 |
цена по запросу |
|
Клапан дыхательный КДСа-3000/500 |
цена по запросу |
|
Диск-отражатель на КДСа |
цена по запросу |
|
Клапан дыхательный КДСа-1500/150-10 |
60500 |
|
Клапан дыхательный КДСа-1500/200-10 |
60500 |
|
Клапан дыхательный КДСа-1500/250-10 |
60500 |
|
Клапан дыхательный КДСа-1500/350-10 |
61820 |
|
Клапан дыхательный КДСа-1500/500-10 |
61820 |
Наши менеджеры подскажут о важных свойствах товара, наличии на складе в г. Санкт-Петербург, о реальных сроках и способах поставки груза. Подберут оборудование и сделают расчет стоимости. Для дополнительной информации обращайтесь в офис нашей компании по электронному адресу:
azs-tehnik@yandex.ru либо по телефону +7- (965) 770-89-00.
Доставка осуществляется на территории всей страны транспортными компаниями ТК "КИТ" Сервис, ТК "Деловые линии" и другими. Оплата транспортных расходов производится заказчиком на месте транспортной компании либо включается в стоимость оборудования.


