Фильтры СДЖ
0,00 руб
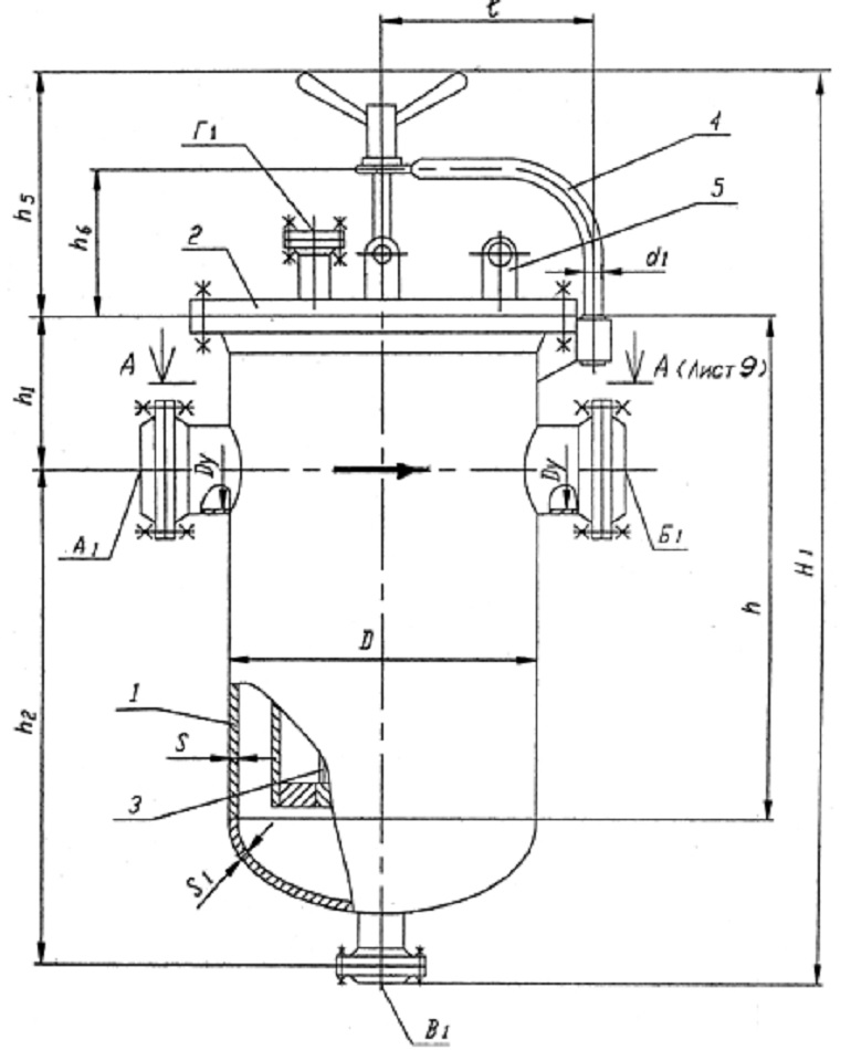
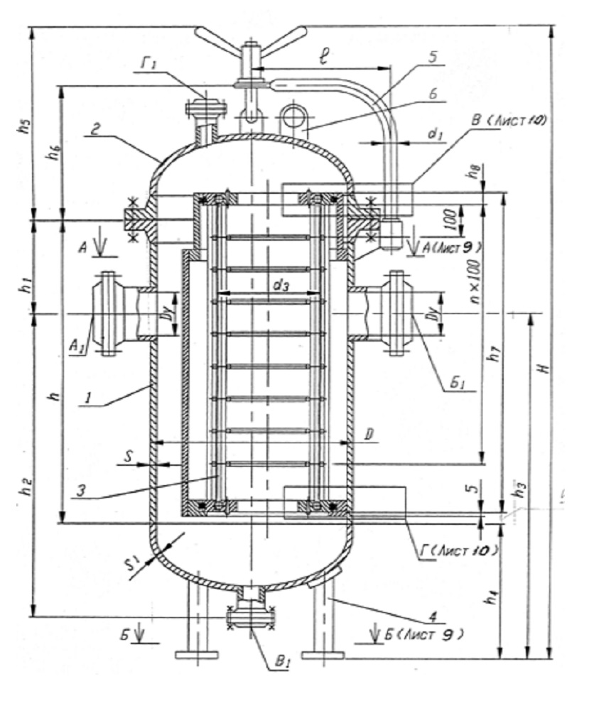
Фильтры жидкостные сетчатые СДЖ для трубопроводов на условные давления от 1,6 до 4,0 МПа предназначены для защиты насосного и другого оборудования в технологических установках нефтеперерабатывающей, нефтехимической, нефтяной и газовой отраслей промышленности, при работе которого размер твердых частиц механических примесей в жидкости должен быть не более 200 мкм. Фильтр представляет собой вертикальный цилиндрический аппарат с фильтрующим элементом каркасного типа с сеткой. Фильтры изготавливаются из материала:
- сталь 20 – температура транспортируемой жидкости от минус 30 до 300°С;
- 09Г2С-6 – температура транспортируемой жидкости от минус 40 до 200°С;
- 09Г2С-8 – температура транспортируемой жидкости от минус 60 до 200°С;
- 12Х18Н10Т – температура транспортируемой жидкости от минус 40 до 300°С.
Конструктивное исполнение по способу соединения с трубопроводом:
исполнение 1 – на фланцах, исполнение 2 – с помощью сварки.

ПРИМЕР условного обозначения: СДЖ 250-1, 6-1-2-И.
Фильтры СДЖ (сетчатые дренажные жидкостные)
| Давление, Мпа | Масса, кг |
Габариты, мм длина-ширина-диаметр |
|
|
СДЖ 25 |
1,6 |
115 |
1050-550-273 |
|
2,5 |
130 |
||
|
4,0 |
160 |
||
|
6,3 |
215 |
||
|
СДЖ 50 |
1,6 |
120 |
1050-550-273 |
|
2,5 |
135 |
||
|
4,0 |
165 |
||
|
6,3 |
220 |
||
|
СДЖ 80 |
1,6 |
140 |
1100-550-273 |
|
2,5 |
158 |
||
|
4,0 |
192 |
||
|
6,3 |
270 |
||
|
СДЖ 100 |
1,6 |
285 |
1985-850-400 |
|
2,5 |
320 |
||
|
4,0 |
422 |
||
|
6,3 |
542 |
||
|
СДЖ 150 |
1,6 |
310 |
1985-850-400 |
|
2,5 |
345 |
||
|
4,0 |
460 |
||
|
6,3 |
610 |
||
|
СДЖ 200 |
1,6 |
610 |
2415-1250-600 |
|
2,5 |
720 |
||
|
4,0 |
950 |
||
|
6,3 |
1240 |
||
|
СДЖ 250 |
1,6 |
640 |
2415-1250-600 |
|
2,5 |
750 |
||
|
4,0 |
992 |
||
|
6,3 |
1380 |
||
|
СДЖ 300 |
1,6 |
670 |
2415-1250-600 |
|
2,5 |
820 |
||
|
4,0 |
955 |
||
|
6,3 |
1540 |
||
|
СДЖ 350 |
1,6 |
690 |
2415-1250-600 |
|
2,5 |
850 |
||
|
4,0 |
1000 |
||
|
6,3 |
1600 |
||
|
СДЖ 400 |
1,6 |
1550 |
2980-2000-1000 |
|
2,5 |
1900 |
||
|
4,0 |
2660 |
||
|
6,3 |
3700 |
||
|
СДЖ 500 |
1,6 |
1730 |
2980-2000-1000 |
|
2,5 |
2120 |
||
|
4,0 |
2970 |
||
|
6,3 |
4200 |
||
|
СДЖ 700 |
1,6 |
1950 |
3100-2000-1200 |
|
2,5 |
2400 |
||
|
4,0 |
3360 |
||
|
6,3 |
4700 |
||
|
СДЖ 800 |
1,6 |
2640 |
3500-2400-1200 |
|
2,5 |
3300 |
||
|
4,0 |
4600 |
||
|
6,3 |
6880 |
ЦЕНА
Фильтр СДЖ 25-1, 6-1-2-И от 70 000.00 руб.
Фильтр СДЖ 80-1,6-1-1. Цена 92 000,00 руб.
Для более корректного определения стоимости предлагаем заполнить опросный лист.
Наши менеджеры подскажут о важных свойствах товара, наличии на складе в г. Санкт-Петербург, о реальных сроках и способах поставки груза. Подберут оборудование и сделают расчет стоимости. Для дополнительной информации обращайтесь в офис нашей компании по электронному адресу: azs-tehnik@yandex.ru либо по телефону +7 (812) 716-60-16, +7(965) 770-89-00.
Доставка осуществляется на территории всей страны транспортными компаниями ТК "КИТ" Сервис, ТК "Деловые линии" и другими. Оплата транспортных расходов производится заказчиком на месте транспортной компании либо включается в стоимость оборудования.

